SG Series
MFGSP
8479820090
КИТАЙ
Совершенно новый с гарантией
Немедленный
В зависимости от спецификации
| Размер: | |
|---|---|
| штат: | |
Описание продукта
Устройство применимо к машине для литья под давлением, кроме того, что соответствует экструдирующей машине или ремне -конвейеру для раздавливания бегунов или небольшого количества дефектных продуктов. С функцией низкой скорости вращения, низкой шума, меньшей пыли и удобной работы.
Технические характеристики :
| Модель | SG-180FET-2B/2C | SG-240FET-2B/2C | SG-300FET-2B/2C | SG-360FET-2B/2C | SG-420FET-2B/2C |
| Камерный калибр (мм) | 210x221 | 270x221 | 330x270 | 390x270 | 450x270 |
| Раздавтная способность (кг/ч) | 30-50 | 50-80 | 50-100 | 80-130 | 100-150 |
| Вращающийся/фиксированный блок (ПК) | 9/2 | 12/2 | 2/15 | 2/18 | 2/21 |
| Скорость вращения (об / мин) | 340 | ||||
| Мотор (кВт) | 1.5 | 1.5 | 2.2 | 2.2 | 3 |
| Воздуходувка | 0.55 | ||||
| / | |||||
| Диаметр раздавного вращения | Φ170 | Φ170 | Φ225 | Φ225 | Φ225 |
| Диаметр диафрагмы | Φ6 | Φ6 | Φ6 | Φ6 | Φ6 |
| L (мм) | 484 | 539 | 599 | 659 | 719 |
| W (мм) | 1010 | 1042 | 1109 | 1134 | 1173 |
| Хм) | 1283 | 1283 | 1391 | 1432 | 1452 |
| Φ (D) | Φ38 | ||||
| Вес (кг) | 177 | 216 | 256 | 300 | 350 |
※ Мы оставляем за собой право изменять спецификации без предварительного уведомления.
Схема установки:

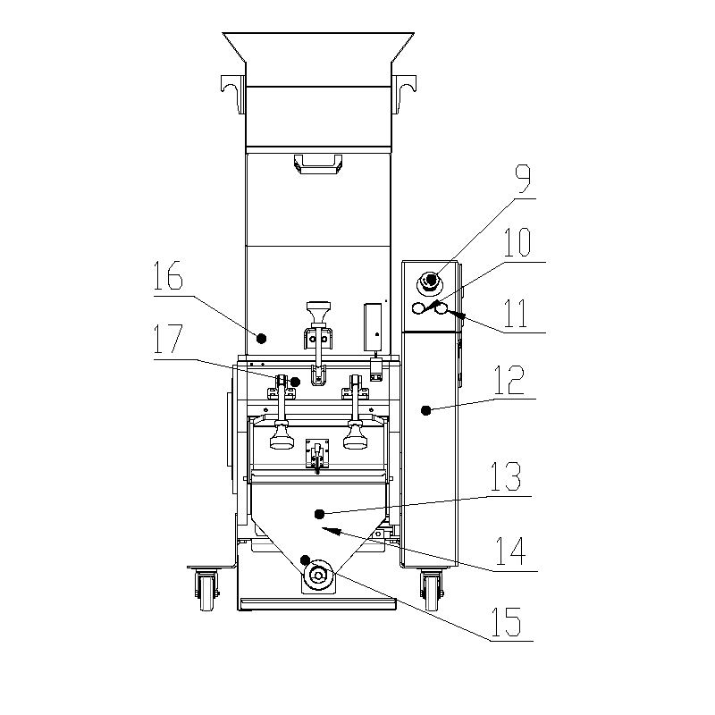
Структура:


1 | Кормление Хупера | 10 | Начинать |
2 | Масляный цилиндрический блок | 11 | Останавливаться |
3 | Фиксированная плита лезвия | 12 | Ловушка колеса |
4 | Раздавляющая комната | 13 | Смешать мотор |
5 | Мотор | 14 | Мобильный Хупер |
6 | Основной кадр | 15 | Всасывающая трубка |
7 | Грузовик | 16 | Безопасный переключатель |
8 | Заблокировать состав гайки | 17 | Сетка экрана |
9 | Странность остановка |